Like a Jet Engine: Yamaha’s New Exhaust Could Help Steer a Motorcycle
Japanese engineers want to harness exhaust jet energy to help bikes corner—and keep the front wheel on the ground under hard acceleration.
Japanese engineers are exploring ways to use the jet thrust of exhaust gases to help a motorcycle turn and to prevent wheelies during hard acceleration.
The Japanese manufacturer has filed two new patents focused on motorcycle exhaust system upgrades. Each patent describes a different setup, but both are based on the same core idea: redirect exhaust flow to generate useful thrust.
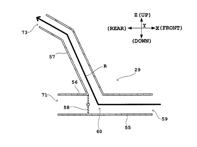
In the first design, a butterfly valve would be integrated into the exhaust pipe. When the rider sharply twists the throttle, the valve partially closes the main exhaust path, forcing gases into a narrower secondary outlet aimed upward and rearward. Because of the smaller cross-section, the gases accelerate as they exit, creating a jet-like thrust effect similar in principle to an aircraft engine. That downward-directed force would help press the bike onto the pavement, reducing the tendency to lift the front wheel under hard acceleration and helping the rider maintain control.


The second system works in a similar way, but instead of routing exhaust gases upward, it directs them straight downward. This setup is intended for use while cornering, when the motorcycle is leaned over significantly. Thanks to the lean angle, the redirected exhaust thrust would push the bike toward the inside of the turn, counteracting centrifugal force and aiding stability.

Wait, But…
Knowledgeable readers will immediately spot a couple of potential drawbacks. First, narrowing the exhaust passage increases back pressure, which can effectively choke the engine and limit peak power. However, during hard acceleration or aggressive cornering, a rider typically cannot use the engine’s full output anyway—the limiting factor is tire grip. That means there may be unused energy that could instead be redirected to improve stability.
Common sense also suggests that the exhaust gases from an internal combustion engine may not generate significant thrust. That may well be true, and for now Yamaha appears to be presenting more of a concept than a production-ready solution.
Still, it’s worth noting that regulations in premier motorcycle racing series such as MotoGP and Superbike World Championship are expected to change, with aerodynamic downforce devices set to be banned. As a result, manufacturers are searching for alternative ways to maintain stability and performance.
While the odds may be slim, there’s a chance that systems like this could eventually make their way to production street bikes. Given how frequently motorcyclists are involved in accidents, any innovation that improves two-wheeled safety could prove valuable.
You may also be interested in the news:
From Parts Manufacturing to Their Own Cars: A New Phase in the Industry
When parts manufacturers decided to challenge the car giants. Some companies tried their hand at car manufacturing, each with its unique story.
5 Wild Harley-Davidson Motorcycles That Look Nothing Like Traditional Harleys
These unconventional Harley-Davidson motorcycles prove the legendary American brand experimented far beyond traditional cruiser design philosophies.
Harley-Davidson Dragster Is the Aggressive Way to Upgrade an Already Muscular Sportster S
Lithuanian custom shop Killer Custom transforms Harley-Davidson Sportster S into bold Dragster build.
BMW R 1300 GS: New Tech and Standout Engineering in the Adventure Touring World
Why the BMW R 1300 GS stands out as an engineering benchmark with advanced design innovations
Chery’s New Electric Motorcycle Can Run Without Plugging In Every Time
Chery unveiled the e-Vo REEV, an electric motorcycle with a gasoline-powered range extender.